注册
登录
关注:
官网首页
阿里云8折
论坛
wdCDN系统
智能DNS软件
搜索
私人消息 (0)
公共消息 (0)
论坛任务 (0)
系统消息 (0)
好友消息 (0)
帖子消息 (0)
WDlinux官方论坛
»
wdCP V2|linux下免费的服务器/虚拟主机管理系统
» 严重漏洞!!
无标题文档
wdCP系统
(
介绍
,
功能特性
,
运行环境
,
安装说明
,
演示
,
常见问题
,
使用教程
)
wdCDN系统
(
介绍
,
功能特性
,
运行环境
,
安装说明
,
演示
,
常见问题
,
使用手册
)
wdOS系统
(
介绍
,
功能特性
,
运行环境
,
安装说明
,
演示
,
常见问题
,
使用教程
)
wdDNS系统
(
介绍
,
功能特性
,
运行环境
,
安装说明
,
演示
,
常见问题
,
使用手册
)
注册 发贴 提问 回复-必看必看
wddns免费智能 DNS
开通
本地或虚拟机使 用wdcp
一键包在mysql编 译时"卡住"
AI导航网AI应用网站大全
wdcp官方技术支持/服务
阿里云8折优惠券
无敌云
腾讯云优惠中,现注册更有260代金额券赠送
 
1
2
3
下一页
返回列表
发帖
qq703821945
发短消息
加为好友
qq703821945
当前离线
UID
7494
帖子
21
精华
0
积分
239
阅读权限
20
在线时间
12 小时
注册时间
2012-6-19
最后登录
2014-4-17
注册会员
16
#
跳转到
»
发表于 2013-8-19 20:46
|
只看该作者
提问三步曲:
提问先看教程/FAQ索引(
wdcp
,
wdcp_v3
,
一键包
)及搜索,会让你更快解决问题
1 提供详细,如系统版本,wdcp版本,软件版本等及错误的详细信息,贴上论坛或截图发论坛
2 做过哪些操作或改动设置等
温馨提示:信息不详,很可能会没人理你!论坛有教程说明的,也可能没人理!因为,你懂的
下载
(106.65 KB)
2013-8-19 20:46
下载
(135.76 KB)
2013-8-19 20:46
还有登陆的ip,都是完全正常的(isvpn--广东电信)(admin--湖北联通)
AI导航网,AI网站大全,AI工具大全,AI软件大全,AI工具集合,AI编程,AI绘画,AI写作,AI视频生成,AI对话聊天等,尽在aiaiV.cn
TOP
qq703821945
发短消息
加为好友
qq703821945
当前离线
UID
7494
帖子
21
精华
0
积分
239
阅读权限
20
在线时间
12 小时
注册时间
2012-6-19
最后登录
2014-4-17
注册会员
17
#
发表于 2013-8-19 20:47
|
只看该作者
那几个输错了的是我导致的,正常的,因为我很少进wdcp,一般弄好了就不管了
TOP
qq703821945
发短消息
加为好友
qq703821945
当前离线
UID
7494
帖子
21
精华
0
积分
239
阅读权限
20
在线时间
12 小时
注册时间
2012-6-19
最后登录
2014-4-17
注册会员
18
#
发表于 2013-8-19 20:49
|
只看该作者
下载
(185.57 KB)
2013-8-19 20:47
下载
(117.97 KB)
2013-8-19 20:47
可疑文件我在回收站发现了,
没有被完全删除,我可以提供给你们.
都是8.16的
TOP
qq703821945
发短消息
加为好友
qq703821945
当前离线
UID
7494
帖子
21
精华
0
积分
239
阅读权限
20
在线时间
12 小时
注册时间
2012-6-19
最后登录
2014-4-17
注册会员
19
#
发表于 2013-8-19 20:53
|
只看该作者
admin 怀疑本文的用意我能理解,因为以前有就人故意黑AMH控制面板,
中国人素质本来就低,什么都干的出来
但是可以明显看出,我任然在使用wdcp,我完全没必要一边黑一边用啊,
就算要黑,我完全可以去其他的主机论坛之类的地方,发帖说你们有漏洞,
可是我只在这里报告有BUG了.
wdcp我很早就用了,看我注册id和过往发言就知道了.因为用起来确实比AMH之类的顺手,功能也多,
最重要的是AHM导出的数据库有问题,只能用wdcp了.
我是真心希望wdcp能越做越好.
AI导航网,AI网站大全,AI工具大全,AI软件大全,AI工具集合,AI编程,AI绘画,AI写作,AI视频生成,AI对话聊天等,尽在aiaiV.cn
TOP
qq703821945
发短消息
加为好友
qq703821945
当前离线
UID
7494
帖子
21
精华
0
积分
239
阅读权限
20
在线时间
12 小时
注册时间
2012-6-19
最后登录
2014-4-17
注册会员
20
#
发表于 2013-8-19 20:58
|
只看该作者
对了,差点忘了说,
这个肯定不是我密码泄露导致的,因为登陆记录都是正常的,而且我的密码也很长很复杂,
也没有把后台端口告诉任何人(非8080),这个系统只有我一个在用.
我不知道对方是怎么登陆的,操作的,完全没有记录,但是很明显(这是一种能绕过验证的高危漏洞),
我发现后什么密码都改了,连vps密码都改了.
TOP
qq703821945
发短消息
加为好友
qq703821945
当前离线
UID
7494
帖子
21
精华
0
积分
239
阅读权限
20
在线时间
12 小时
注册时间
2012-6-19
最后登录
2014-4-17
注册会员
21
#
发表于 2013-8-20 00:01
|
只看该作者
下载
(18.8 KB)
2013-8-20 00:00
今天添加用户的时候我突然发现没有id:2的用户,
请问是这样设置的吗?
如果不是的话,那就说明在没有添加isvpn用户的时候就被入侵了...
TOP
admin
发短消息
加为好友
admin
当前离线
UID
1
帖子
9588
精华
3
积分
29638
阅读权限
200
在线时间
18842 小时
注册时间
2011-11-15
最后登录
2026-3-25
管理员
22
#
发表于 2013-8-20 10:36
|
只看该作者
回复
13#
qq703821945
这个FTP有记录的,在/var/log/pureftpd.log
看清提问三步曲及多看教程/FAQ索引(
wdcp
,
v3
,
一键包
,
wdOS
),益处多多.
wdcp工具集
阿里云主机8折优惠码
TOP
admin
发短消息
加为好友
admin
当前离线
UID
1
帖子
9588
精华
3
积分
29638
阅读权限
200
在线时间
18842 小时
注册时间
2011-11-15
最后登录
2026-3-25
管理员
23
#
发表于 2013-8-20 10:37
|
只看该作者
回复
21#
qq703821945
是有可能
看清提问三步曲及多看教程/FAQ索引(
wdcp
,
v3
,
一键包
,
wdOS
),益处多多.
wdcp工具集
阿里云主机8折优惠码
AI导航网,AI网站大全,AI工具大全,AI软件大全,AI工具集合,AI编程,AI绘画,AI写作,AI视频生成,AI对话聊天等,尽在aiaiV.cn
TOP
admin
发短消息
加为好友
admin
当前离线
UID
1
帖子
9588
精华
3
积分
29638
阅读权限
200
在线时间
18842 小时
注册时间
2011-11-15
最后登录
2026-3-25
管理员
24
#
发表于 2013-8-20 10:39
|
只看该作者
回复
20#
qq703821945
有点不明白,或是说,你的机器或网站,有什么特别或有价格的吗?
如果不是,不太明白,为什么,你的机器安装没几天,而也改了端口(非默认的后台端口,只有你自己知道)
那对方怎么能这么快就知道你(机器)的存在,而且还黑了你?
好好奇,我原以为,你的机器用了好长一段时间
看清提问三步曲及多看教程/FAQ索引(
wdcp
,
v3
,
一键包
,
wdOS
),益处多多.
wdcp工具集
阿里云主机8折优惠码
TOP
admin
发短消息
加为好友
admin
当前离线
UID
1
帖子
9588
精华
3
积分
29638
阅读权限
200
在线时间
18842 小时
注册时间
2011-11-15
最后登录
2026-3-25
管理员
25
#
发表于 2013-8-20 11:21
|
只看该作者
回复
19#
qq703821945
我相信你的诚意,但也不否认,会有那样的人那样的事
就产品本身而言,如果确实有漏洞或有问题,我们也是很欢迎提出,同时也会尽可能去修复或完善
也不会怕别人说什么,而应该正视问题所在
但很反感一些人,说这说那,却拿不出或不愿意指出问题所在(或许是他们不愿意,又或许是根本就没有这样的问题)
看清提问三步曲及多看教程/FAQ索引(
wdcp
,
v3
,
一键包
,
wdOS
),益处多多.
wdcp工具集
阿里云主机8折优惠码
TOP
qq703821945
发短消息
加为好友
qq703821945
当前离线
UID
7494
帖子
21
精华
0
积分
239
阅读权限
20
在线时间
12 小时
注册时间
2012-6-19
最后登录
2014-4-17
注册会员
26
#
发表于 2013-8-20 16:41
|
只看该作者
回复
24#
admin
呃..我网站运行了一年了吧,机器一直都用的vps,因为最近mc线路狠抽,就换到丹佛线路了,从某种意义上来说,我的机器确实一直存在...我以前一直用的"⑧⑨⑥④"端口,至少半年,都用的wdcp,没出过问题,就是有时候数据库不能启动.
这次事件后换成了"和win系统远程桌面一个端口"的端口了,目前没什么异样,我马上就把ftp记录发上来
TOP
qq703821945
发短消息
加为好友
qq703821945
当前离线
UID
7494
帖子
21
精华
0
积分
239
阅读权限
20
在线时间
12 小时
注册时间
2012-6-19
最后登录
2014-4-17
注册会员
27
#
发表于 2013-8-20 16:49
|
只看该作者
回复
22#
admin
我在 var/log/下没发现啊....
下载
(170.92 KB)
2013-8-20 16:48
可能在其他地方不?
我vps有数据盘的,mnt/web/www
TOP
qq703821945
发短消息
加为好友
qq703821945
当前离线
UID
7494
帖子
21
精华
0
积分
239
阅读权限
20
在线时间
12 小时
注册时间
2012-6-19
最后登录
2014-4-17
注册会员
28
#
发表于 2013-8-20 17:10
|
只看该作者
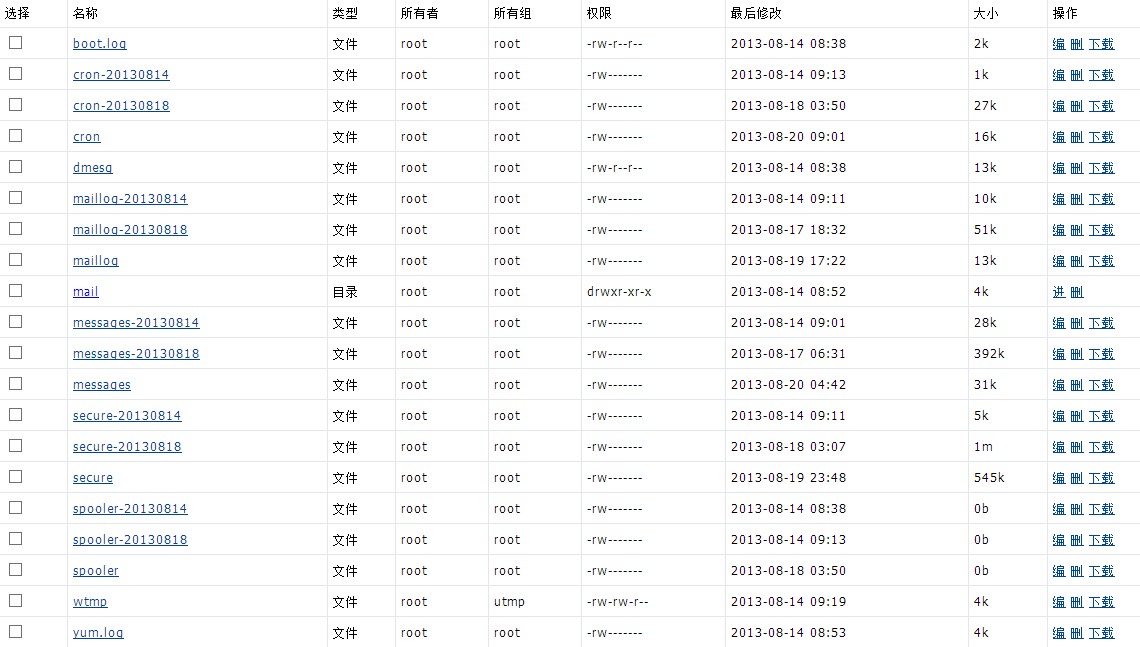
好吧,我把文件全部拷下来了,发现 message开头的文件有ftp信息.
TOP
qq703821945
发短消息
加为好友
qq703821945
当前离线
UID
7494
帖子
21
精华
0
积分
239
阅读权限
20
在线时间
12 小时
注册时间
2012-6-19
最后登录
2014-4-17
注册会员
29
#
发表于 2013-8-20 17:11
|
只看该作者
ftp.zip
(33.75 KB)
下载次数: 1
2013-8-20 17:11
下载消耗 金币 1
TOP
qq703821945
发短消息
加为好友
qq703821945
当前离线
UID
7494
帖子
21
精华
0
积分
239
阅读权限
20
在线时间
12 小时
注册时间
2012-6-19
最后登录
2014-4-17
注册会员
30
#
发表于 2013-8-20 17:23
|
只看该作者
我自己看了一下,基本重要信息都在0818的日志里面,
"基本都是ftp扫描,然后爆破了我的密码,接着上传,和wdcp后台无关系,
那么
lizhiwanshabi@126.com
可能是在故意黑wdcp,但是他确实算是入侵了我的vps,
建议admin发个公告,让用户都检查一下自己的vps是否有异,
如果
lizhiwanshabi@126.com
是故意黑的话,那么肯定会专门找用wdcp的vps来入侵,
然后我这种不懂的肯定会以为是wdcp的问题."
TOP
 
1
2
3
下一页
返回列表
lamp|lnmp|lnamp|一键安装包
wdCP V3|Linux服务器/云主机/虚拟主机管理系统
wdcdn系统|CDN缓存加速管理系统
我的Linux|wdlinux
ai|大模型|大数据
开源精选
wdCP V3|Linux服务器/云主机/虚拟主机管理系统
wddns|智能DNS系统|免费智能DNS解析
lamp|lnmp|lnamp|一键安装包
wdCP V2|linux下免费的服务器/虚拟主机管理系统
wdcdn系统|CDN缓存加速管理系统
wdOS|CentOS精简版|CentOS定制版
区块链技术|智能合约|区块链开发
wdlinux学堂|wdOS知识库|linux知识库|教程|文档
站务管理
站务管理
[收藏此主题]
[关注此主题的新回复]
[通过 QQ、MSN 分享给朋友]