注册
登录
关注:
官网首页
阿里云8折
论坛
wdCDN系统
智能DNS软件
搜索
私人消息 (0)
公共消息 (0)
论坛任务 (0)
系统消息 (0)
好友消息 (0)
帖子消息 (0)
WDlinux官方论坛
»
wdCP V2|linux下免费的服务器/虚拟主机管理系统
» 严重漏洞!!
无标题文档
wdCP系统
(
介绍
,
功能特性
,
运行环境
,
安装说明
,
演示
,
常见问题
,
使用教程
)
wdCDN系统
(
介绍
,
功能特性
,
运行环境
,
安装说明
,
演示
,
常见问题
,
使用手册
)
wdOS系统
(
介绍
,
功能特性
,
运行环境
,
安装说明
,
演示
,
常见问题
,
使用教程
)
wdDNS系统
(
介绍
,
功能特性
,
运行环境
,
安装说明
,
演示
,
常见问题
,
使用手册
)
注册 发贴 提问 回复-必看必看
wddns免费智能 DNS
开通
本地或虚拟机使 用wdcp
一键包在mysql编 译时"卡住"
AI导航网AI应用网站大全
wdcp官方技术支持/服务
阿里云8折优惠券
无敌云
腾讯云优惠中,现注册更有260代金额券赠送
 
1
2
返回列表
发帖
qq703821945
发短消息
加为好友
qq703821945
当前离线
UID
7494
帖子
21
精华
0
积分
239
阅读权限
20
在线时间
12 小时
注册时间
2012-6-19
最后登录
2014-4-17
注册会员
16
#
跳转到
»
发表于 2013-8-20 16:41
|
显示全部帖子
提问三步曲:
提问先看教程/FAQ索引(
wdcp
,
wdcp_v3
,
一键包
)及搜索,会让你更快解决问题
1 提供详细,如系统版本,wdcp版本,软件版本等及错误的详细信息,贴上论坛或截图发论坛
2 做过哪些操作或改动设置等
温馨提示:信息不详,很可能会没人理你!论坛有教程说明的,也可能没人理!因为,你懂的
回复
24#
admin
呃..我网站运行了一年了吧,机器一直都用的vps,因为最近mc线路狠抽,就换到丹佛线路了,从某种意义上来说,我的机器确实一直存在...我以前一直用的"⑧⑨⑥④"端口,至少半年,都用的wdcp,没出过问题,就是有时候数据库不能启动.
这次事件后换成了"和win系统远程桌面一个端口"的端口了,目前没什么异样,我马上就把ftp记录发上来
AI导航网,AI网站大全,AI工具大全,AI软件大全,AI工具集合,AI编程,AI绘画,AI写作,AI视频生成,AI对话聊天等,尽在aiaiV.cn
TOP
qq703821945
发短消息
加为好友
qq703821945
当前离线
UID
7494
帖子
21
精华
0
积分
239
阅读权限
20
在线时间
12 小时
注册时间
2012-6-19
最后登录
2014-4-17
注册会员
17
#
发表于 2013-8-20 16:49
|
显示全部帖子
回复
22#
admin
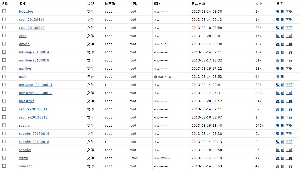
我在 var/log/下没发现啊....
下载
(170.92 KB)
2013-8-20 16:48
可能在其他地方不?
我vps有数据盘的,mnt/web/www
TOP
qq703821945
发短消息
加为好友
qq703821945
当前离线
UID
7494
帖子
21
精华
0
积分
239
阅读权限
20
在线时间
12 小时
注册时间
2012-6-19
最后登录
2014-4-17
注册会员
18
#
发表于 2013-8-20 17:10
|
显示全部帖子
好吧,我把文件全部拷下来了,发现 message开头的文件有ftp信息.
TOP
qq703821945
发短消息
加为好友
qq703821945
当前离线
UID
7494
帖子
21
精华
0
积分
239
阅读权限
20
在线时间
12 小时
注册时间
2012-6-19
最后登录
2014-4-17
注册会员
19
#
发表于 2013-8-20 17:11
|
显示全部帖子
ftp.zip
(33.75 KB)
下载次数: 1
2013-8-20 17:11
下载消耗 金币 1
AI导航网,AI网站大全,AI工具大全,AI软件大全,AI工具集合,AI编程,AI绘画,AI写作,AI视频生成,AI对话聊天等,尽在aiaiV.cn
TOP
qq703821945
发短消息
加为好友
qq703821945
当前离线
UID
7494
帖子
21
精华
0
积分
239
阅读权限
20
在线时间
12 小时
注册时间
2012-6-19
最后登录
2014-4-17
注册会员
20
#
发表于 2013-8-20 17:23
|
显示全部帖子
我自己看了一下,基本重要信息都在0818的日志里面,
"基本都是ftp扫描,然后爆破了我的密码,接着上传,和wdcp后台无关系,
那么
lizhiwanshabi@126.com
可能是在故意黑wdcp,但是他确实算是入侵了我的vps,
建议admin发个公告,让用户都检查一下自己的vps是否有异,
如果
lizhiwanshabi@126.com
是故意黑的话,那么肯定会专门找用wdcp的vps来入侵,
然后我这种不懂的肯定会以为是wdcp的问题."
TOP
 
1
2
返回列表
lamp|lnmp|lnamp|一键安装包
我的Linux|wdlinux
ai|大模型|大数据
开源精选
wdCP V3|Linux服务器/云主机/虚拟主机管理系统
wddns|智能DNS系统|免费智能DNS解析
lamp|lnmp|lnamp|一键安装包
wdCP V2|linux下免费的服务器/虚拟主机管理系统
wdcdn系统|CDN缓存加速管理系统
wdOS|CentOS精简版|CentOS定制版
区块链技术|智能合约|区块链开发
wdlinux学堂|wdOS知识库|linux知识库|教程|文档
站务管理
站务管理
[收藏此主题]
[关注此主题的新回复]
[通过 QQ、MSN 分享给朋友]