注册
登录
关注:
官网首页
阿里云8折
论坛
wdCDN系统
智能DNS软件
搜索
私人消息 (0)
公共消息 (0)
论坛任务 (0)
系统消息 (0)
好友消息 (0)
帖子消息 (0)
WDlinux官方论坛
»
wdCP V2|linux下免费的服务器/虚拟主机管理系统
» 严重漏洞!!
无标题文档
wdCP系统
(
介绍
,
功能特性
,
运行环境
,
安装说明
,
演示
,
常见问题
,
使用教程
)
wdCDN系统
(
介绍
,
功能特性
,
运行环境
,
安装说明
,
演示
,
常见问题
,
使用手册
)
wdOS系统
(
介绍
,
功能特性
,
运行环境
,
安装说明
,
演示
,
常见问题
,
使用教程
)
wdDNS系统
(
介绍
,
功能特性
,
运行环境
,
安装说明
,
演示
,
常见问题
,
使用手册
)
注册 发贴 提问 回复-必看必看
wddns免费智能 DNS
开通
本地或虚拟机使 用wdcp
一键包在mysql编 译时"卡住"
AI导航网AI应用网站大全
wdcp官方技术支持/服务
阿里云8折优惠券
无敌云
腾讯云优惠中,现注册更有260代金额券赠送
1
2
3
下一页
返回列表
发帖
qq703821945
发短消息
加为好友
qq703821945
当前离线
UID
7494
帖子
21
精华
0
积分
239
阅读权限
20
在线时间
12 小时
注册时间
2012-6-19
最后登录
2014-4-17
注册会员
1
#
跳转到
»
倒序看帖
打印
字体大小:
t
T
发表于 2013-8-18 16:31
|
只看该作者
提问三步曲:
提问先看教程/FAQ索引(
wdcp
,
wdcp_v3
,
一键包
)及搜索,会让你更快解决问题
1 提供详细,如系统版本,wdcp版本,软件版本等及错误的详细信息,贴上论坛或截图发论坛
2 做过哪些操作或改动设置等
温馨提示:信息不详,很可能会没人理你!论坛有教程说明的,也可能没人理!因为,你懂的
[BUG反馈]
严重漏洞!!
http://www.wooyun.org/bugs/wooyun-2010-05835这个漏洞貌似你们已经修复了,
但是2013.8.16我却被这个漏洞上传了很多其他网站的东西,
造事者已经发邮件告诉我是这个漏洞(我之前都不知道),
2012年的漏洞2013年还能用???
WDCP是最新的2.5.8
辛亏对方貌似只是为了测试漏洞,没有做出破坏性的动作,
这个漏洞请你们注意.
收藏
分享
AI导航网,AI网站大全,AI工具大全,AI软件大全,AI工具集合,AI编程,AI绘画,AI写作,AI视频生成,AI对话聊天等,尽在aiaiV.cn
qq703821945
发短消息
加为好友
qq703821945
当前离线
UID
7494
帖子
21
精华
0
积分
239
阅读权限
20
在线时间
12 小时
注册时间
2012-6-19
最后登录
2014-4-17
注册会员
2
#
发表于 2013-8-18 16:33
|
只看该作者
下载
(100 KB)
2013-8-18 16:33
如图所示,我的网站 "www.ragnaroks.org" 内容和图中网站内容完全无关
TOP
coolyx
发短消息
加为好友
coolyx
当前离线
UID
4323
帖子
44
精华
0
积分
174
阅读权限
20
在线时间
4 小时
注册时间
2012-4-2
最后登录
2014-11-2
注册会员
3
#
发表于 2013-8-18 19:41
|
只看该作者
期待admin大人的解答
应该可能性不大,我有两三个黑客技术还是不错的人。试过2.58的,没啥问题的
www.fjcee.com
TOP
admin
发短消息
加为好友
admin
当前离线
UID
1
帖子
9588
精华
3
积分
29638
阅读权限
200
在线时间
18842 小时
注册时间
2011-11-15
最后登录
2026-3-25
管理员
4
#
发表于 2013-8-18 19:53
|
只看该作者
能确定是wdcp新版而不是是其它网站等原因导致?
如果可以,留个对方的联系方式或让对方联系下我
看清提问三步曲及多看教程/FAQ索引(
wdcp
,
v3
,
一键包
,
wdOS
),益处多多.
wdcp工具集
阿里云主机8折优惠码
AI导航网,AI网站大全,AI工具大全,AI软件大全,AI工具集合,AI编程,AI绘画,AI写作,AI视频生成,AI对话聊天等,尽在aiaiV.cn
TOP
qq703821945
发短消息
加为好友
qq703821945
当前离线
UID
7494
帖子
21
精华
0
积分
239
阅读权限
20
在线时间
12 小时
注册时间
2012-6-19
最后登录
2014-4-17
注册会员
5
#
发表于 2013-8-18 22:11
|
只看该作者
回复
4#
admin
这个我确认,我马上就给对方说,如果他愿意告之的话应该会主动联系
TOP
qq703821945
发短消息
加为好友
qq703821945
当前离线
UID
7494
帖子
21
精华
0
积分
239
阅读权限
20
在线时间
12 小时
注册时间
2012-6-19
最后登录
2014-4-17
注册会员
6
#
发表于 2013-8-18 22:27
|
只看该作者
提示:
该帖被管理员或版主屏蔽
TOP
coolyx
发短消息
加为好友
coolyx
当前离线
UID
4323
帖子
44
精华
0
积分
174
阅读权限
20
在线时间
4 小时
注册时间
2012-4-2
最后登录
2014-11-2
注册会员
7
#
发表于 2013-8-18 22:29
|
只看该作者
祝愿咱们的wdlinux越办越好,越来越安全
www.fjcee.com
TOP
qq703821945
发短消息
加为好友
qq703821945
当前离线
UID
7494
帖子
21
精华
0
积分
239
阅读权限
20
在线时间
12 小时
注册时间
2012-6-19
最后登录
2014-4-17
注册会员
8
#
发表于 2013-8-18 22:32
|
只看该作者
下载
(114.63 KB)
2013-8-18 22:30
我的网站安全性
AI导航网,AI网站大全,AI工具大全,AI软件大全,AI工具集合,AI编程,AI绘画,AI写作,AI视频生成,AI对话聊天等,尽在aiaiV.cn
TOP
qq703821945
发短消息
加为好友
qq703821945
当前离线
UID
7494
帖子
21
精华
0
积分
239
阅读权限
20
在线时间
12 小时
注册时间
2012-6-19
最后登录
2014-4-17
注册会员
9
#
发表于 2013-8-18 22:39
|
只看该作者
提示:
该帖被管理员或版主屏蔽
TOP
admin
发短消息
加为好友
admin
当前离线
UID
1
帖子
9588
精华
3
积分
29638
阅读权限
200
在线时间
18842 小时
注册时间
2011-11-15
最后登录
2026-3-25
管理员
10
#
发表于 2013-8-19 10:07
|
只看该作者
没想到还有人这么恨wdcp的...
只不过,现在似乎有点在怀疑此文的本意了
看清提问三步曲及多看教程/FAQ索引(
wdcp
,
v3
,
一键包
,
wdOS
),益处多多.
wdcp工具集
阿里云主机8折优惠码
TOP
spolarv
发短消息
加为好友
spolarv
当前离线
UID
22206
帖子
22
精华
0
积分
81
阅读权限
20
在线时间
16 小时
注册时间
2013-8-16
最后登录
2016-1-17
注册会员
11
#
发表于 2013-8-19 10:36
|
只看该作者
回复
10#
admin
确实有漏洞吗?管理员咋办?咋回事
TOP
glmgs
发短消息
加为好友
glmgs
当前离线
UID
22126
帖子
9
精华
0
积分
54
阅读权限
20
在线时间
0 小时
注册时间
2013-8-14
最后登录
2015-5-29
注册会员
12
#
发表于 2013-8-19 11:14
|
只看该作者
没啥大问题吧
http://www.gelaimo.com
TOP
qq703821945
发短消息
加为好友
qq703821945
当前离线
UID
7494
帖子
21
精华
0
积分
239
阅读权限
20
在线时间
12 小时
注册时间
2012-6-19
最后登录
2014-4-17
注册会员
13
#
发表于 2013-8-19 20:26
|
只看该作者
回复
10#
admin
好吧,这个事我肯定不会骗你,至少我还在用wdcp。
不知道有没有办法查看ftp上传记录?帐号登录记录我都看了,全是正常的。
如果能看ftp记录,是真是假一看便知。
我是8.14买的vps,8.15凌晨装的wdcp,我发现的可疑文件都是8.16出现的,
所以只要查到8.16的ftp记录就可以了。
TOP
qq703821945
发短消息
加为好友
qq703821945
当前离线
UID
7494
帖子
21
精华
0
积分
239
阅读权限
20
在线时间
12 小时
注册时间
2012-6-19
最后登录
2014-4-17
注册会员
14
#
发表于 2013-8-19 20:43
|
只看该作者
下载
(140.61 KB)
2013-8-19 20:42
下载
(181.16 KB)
2013-8-19 20:42
下载
(120.76 KB)
2013-8-19 20:42
下载
(91.31 KB)
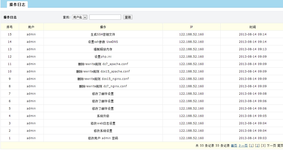
2013-8-19 20:42
这些就是我在后台能看到的全部日志
TOP
qq703821945
发短消息
加为好友
qq703821945
当前离线
UID
7494
帖子
21
精华
0
积分
239
阅读权限
20
在线时间
12 小时
注册时间
2012-6-19
最后登录
2014-4-17
注册会员
15
#
发表于 2013-8-19 20:45
|
只看该作者
可以看到并没有任何异常,"isvpn"这个账号是正常的,我挂代理登陆的,
另外isvpn的用户是普通用户权限,并且我没有上传任何文件,都是正常的.
我还以为是8.15装的wdcp,原来是8.14,我自己都忘了.
TOP
1
2
3
下一页
返回列表
wdCP V3|Linux服务器/云主机/虚拟主机管理系统
lamp|lnmp|lnamp|一键安装包
我的Linux|wdlinux
ai|大模型|大数据
开源精选
wdCP V3|Linux服务器/云主机/虚拟主机管理系统
wddns|智能DNS系统|免费智能DNS解析
lamp|lnmp|lnamp|一键安装包
wdCP V2|linux下免费的服务器/虚拟主机管理系统
wdcdn系统|CDN缓存加速管理系统
wdOS|CentOS精简版|CentOS定制版
区块链技术|智能合约|区块链开发
wdlinux学堂|wdOS知识库|linux知识库|教程|文档
站务管理
站务管理
[收藏此主题]
[关注此主题的新回复]
[通过 QQ、MSN 分享给朋友]