Board logo

标题: [BUG反馈] wdCP v3.2.21 使用自定义端口老是访问到default目录 [打印本页]

作者: hy142013    时间: 2017-12-9 16:19     标题: wdCP v3.2.21 使用自定义端口老是访问到default目录

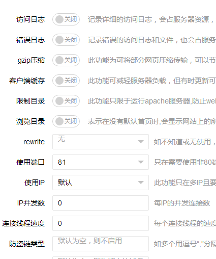
wdCP v3.2.21 新建网站使用自定义的端口后在N+A环境中  使用IP+端口(如 8.8.8.8:81)访问调试网站的时候不能访问到网站所在目录,实际访问的是的default目录的内容 ·1.png QQ截图20171209155823.png 有没有大神知道怎么解决的!!

图片附件: ·1.png (2017-12-9 16:17, 36.05 KB) / 下载次数 16384
http://www.wdlinux.cn/bbs/attachment.php?aid=8231&k=a956f0b8917f82c8227bb20d658eb2a5&t=1773527773&sid=k99HeW



图片附件: QQ截图20171209155823.png (2017-12-9 16:17, 42.87 KB) / 下载次数 16397
http://www.wdlinux.cn/bbs/attachment.php?aid=8232&k=81b3b254bbedbbb1ee464fd3dd91eafb&t=1773527773&sid=k99HeW






欢迎光临 WDlinux官方论坛 (http://www.wdlinux.cn/bbs/) Powered by Discuz! 7.2